Ferrari Filed A Patent For A Side-Exit Exhaust - Here's What The Design Looks Like

Long before patents were a thing, Ferrari was already experimenting with side‑exit exhausts on the track. The 1960 Ferrari 250 TR59/60 was an evolution of the TR59, itself following the legendary 1957 Ferrari 335 S Sport Scaglietti, one of the most expensive Ferraris ever sold at auction. It featured factory‑fitted side pipes on three of its five-car limited-run chassis. Envisioned by Carlo Chiti, the 250TR59/60 left an indelible mark on Ferrari's racing legacy by winning the 1960 24 Hours of Le Mans.

Fast forward six decades, and Ferrari filed a patent for a new side-exit exhaust configuration. This signals that the prancing horse brand is potentially considering side‑exit exhausts for one of its cars in the future. Whether such a car will manifest as a special "few off" series, a reimagined 250TR59, something entirely new, or nothing at all remains to be seen. Patents, after all, don't guarantee production — but they do give us a glimpse at what could be. Here's what Ferrari's latest design might look like.

Ferrari side exit exhaust patent and benefits

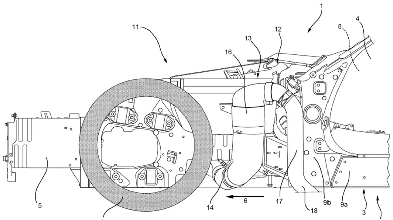
According to US20250319762, a patent for a Ferrari vehicle with side exhausts was published on October 16, 2025. It outlines a road car paired with a side-exhaust system that runs beneath the doors and alongside the front wheels. The filling also outlines how Ferrari aims to combine the visual aspect of a side-exit exhaust with crash protection. It is intended to absorb impact forces and stop the front wheels from moving during a collision.

Side exhausts originated on race cars since shorter pipes mean less backpressure. This is also paired with less piping material which helps with lowering the overall weight of the system. The weight that does exist is placed down low and between the axles. This helps with weight distribution, lowers the car's center of gravity, and makes it handle better. Its racing DNA is also showcased in how accessible side exhaust pipes are, and that helps mechanics to maintain systems without needing to remove the undertray or jack the car up.

By positioning the exhaust on the side, it also enables the diffuser to go deep into the car while also leaving more room for making the belly smooth and a more optimized airflow. In part, this is why most modern performance Ferraris place their exhaust higher as opposed to older supercars which mostly had them exiting at the lower rear end of the car.

Is a Ferrari side-exhaust imminent?

Filing a patent does not necessarily mean that it is guaranteed to go into production. Companies, including Ferrari, file patents all the time, and many of them never see the light of day. For example, in 2001, Ferrari filed the US6578916B2 patent for a seat with an adaptable or deformable outer shell. 24 years later, we've yet to see a Ferrari that has an outer seat shell that can adjust its shape dynamically.

The market viability of a patent needs to be in accordance with ever more stringent regulations, and these change all the time. Some patents are just a little ahead of their time — like when Tesla imagined laser beams zapping the windshield clean. Others, like Apple's haptic-powered socks, are some of the strangest patents ever filed that also sadly didn't make it. However, a study published in Scientometrics (2025) found that while some innovations are patented, patents capture only a small slice of real innovation. 

Most never make it to market, and many innovations that do, aren't patented at all. Many things need to come together in order for a patent to actually make it. In Ferrari's case, a side-exit exhaust patent might truly be a sign of imminence. Even so, it could also be a design exercise, a protective move, or just a tech experiment that never hits production due to a million different reasons.

Recommended