Nokia Clamshell Patent Suggests Modular Folding Phones
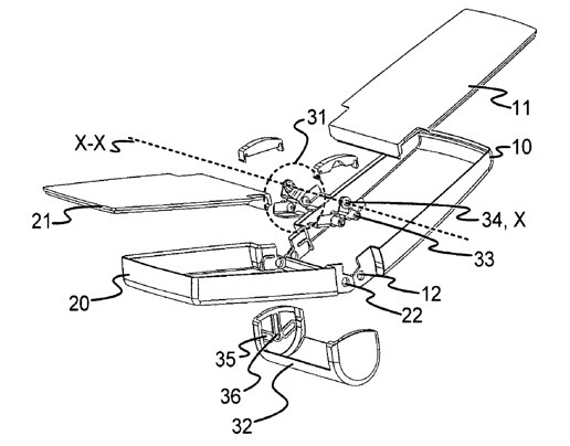
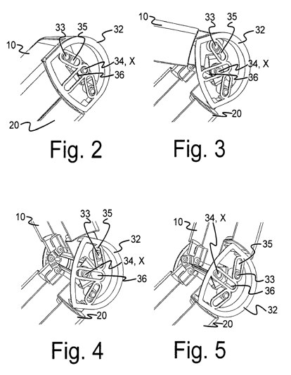
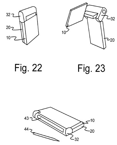
Could a new modular clamshell cellphone be in Nokia's future? The company has only really dabbled in folding phones before now, but a newly published patent suggests the Finnish engineers have been working on a new hinge design that could address not only functionality but hardware longevity. The hinge, the patent suggests, uses a double-rotating mechanism which is then covered by a "shield structure" casing that could include a camera, different controls or other functionality.
Nokia describes that as potentially involving "exchangeable modules" which seems to suggest that the owner of the device could swap them out depending on what they wanted to do with their handset. Possible alternatives include external displays, connectors or even docks and car-kits.
"In some embodiments of the invention, functional units connected to the hinge structure, such as various cameras and exchangeable modules, are possible. The device can thus be made as versatile as possible without making its size too large. The exchangeable modules, in turn, make it possible to assemble the device to meet the needs of the user." Nokia patent
Despite being sturdier than regular hinges, the design is also more simplistic and reduces the number of components necessary; the ribbon cable joining the two halves is routed through the hinge assembly itself. Meanwhile Nokia also suggest it might not be limited to cellphones: they also reckon the fold-flat design would make it suitable to PDAs or portable gaming handhelds. Anybody for a folding N-Gage?


