Apple Tips Smart-Display iPhone Bezel In Patent Application
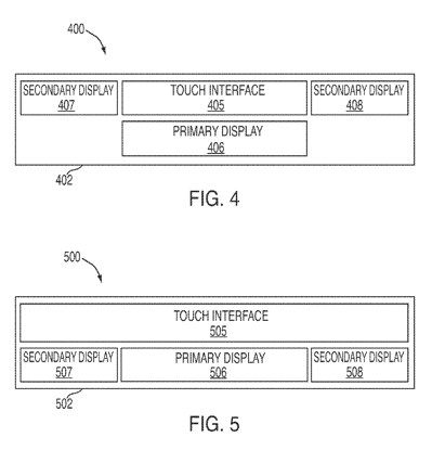
It's obviously the week for interesting Apple patent applications to surface, and after yesterday's hybrid e-paper/LCD proposals, now it's the bezel around them that is in for a futuristic upgrade. According to a new patent application, Apple is looking at the possibility of "Electronic devices with a primary display and a selectively illuminated secondary display" where a regular touchscreen could be highlighted with sections of the bezel lighting up to point out, among other things, where inputs could be made.
Apple reckons that, while touchscreen displays like on the iPad 2 and iPhone 4 are far more flexible than traditional buttons, it's still wasting too much space with virtual buttons. Instead, it wants to use "printed segment electroluminescence displays" which would light up around the touchscreen's edge, and flag up different touch, gesture and other supported controls.
"To assist a user in providing inputs, traditional devices use the display to provide indicators to the user regarding where and how to provide a touch input. For example, a traditional device may display a virtual button on a touch screen to indicate that a user can touch that portion of the screen to provide an input. However, providing such indicators occupies space on the touch screen that could otherwise be used for displaying visual content." Apple patent application
The lit segments could be as simple as a block to show where touch input would be accepted, or comprise arrows, gesture patterns or other indicators that would show up selectively depending on what was on-screen. They could also change selectively depending on the orientation which the device was being held in, so horizontal scrolling arrows would always be pointing up and down no matter whether you held your iPad in portrait or landscape orientation.
Interestingly, a patent application all the way back in 2006 suggested Apple was flirting with the idea of touch-sensitive strips that would be hidden in the screen bezel of a device. At the time – with the original iPhone still unannounced – it was speculated that Apple would use these to replace the scroll-wheel on iPods. However, combining the touch-strips with illuminated secondary-displays could lead to touch-sensitive dynamic controls that would allow users to scroll, navigate and control their future phones and tablets without blocking what was showing on-screen with a finger or hand.
[via Patently Apple]


