Apple Ambidextrous Mouse Idea Could Auto-Recognize Users
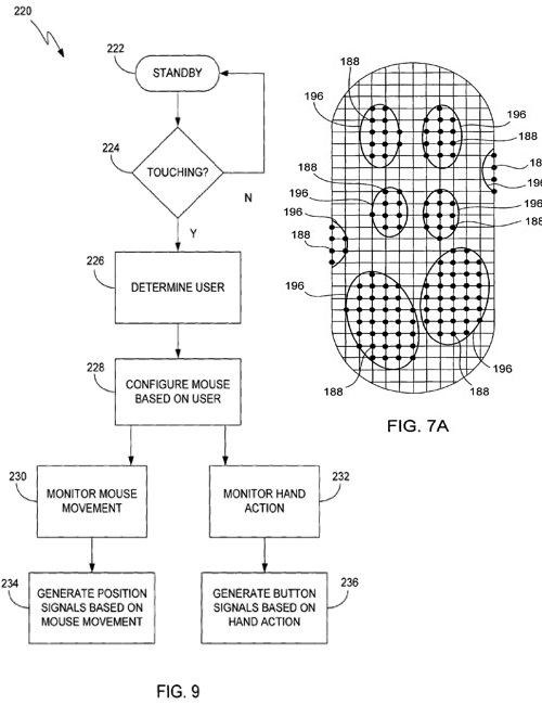
A new Apple patent application for an Ambidextrous Mouse has been submitted, describing a wireless, user-configurable mouse that could automatically recognize whether it was being held by a left- or right-handed user and adjust its virtual buttons and other controls accordingly. Perhaps more interestingly, however, Apple suggests that the peripheral could also be used to identify the current Mac user by the touch-pattern of their hand.
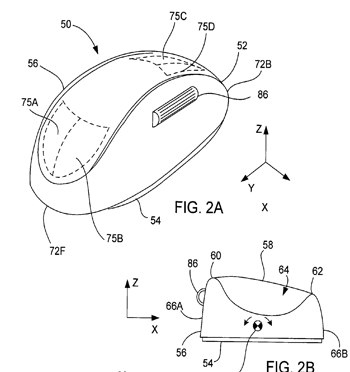
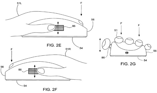
The mouse Apple has in mind sounds a lot like the current Magic Mouse, with "a unibody housing having a buttonless touch sensitive surface" which would be "divided into an array of independent and spatially distinct sensing regions." The various button zones – which could be customized in terms of layout, number and purpose – are then set out according to that user's previous settings.
Such a mouse could be grabbed and used no matter which side of the hardware you were holding; meanwhile Apple also suggest that there could be a number of physical controls – such as track-nubs or scroll wheels – and sensors other than capacitive touch could be used. We don't really mind giving a second's thought to how we hold our mouse right now, but having us automatically logged in to the correct use account as soon as we grab it would be great.


