Ford Patent Shows Autonomous Auto Future With Or Without Steering Wheel
Many automotive enthusiasts are on the fence a bit about the autonomous future. Auto enthusiasts like to drive and some fear the autonomous autos will take that ability from us eventually. At the same time, there are certainly conditions where not having to drive is ideal, you only have to drive through the mountains of Colorado to know being able to look around is a good thing. A Ford patent application has turned up that shows the automaker's vision of a future where you might be able to drive your car when you want, and pull the steering wheel and pedals out when you want to be driven.
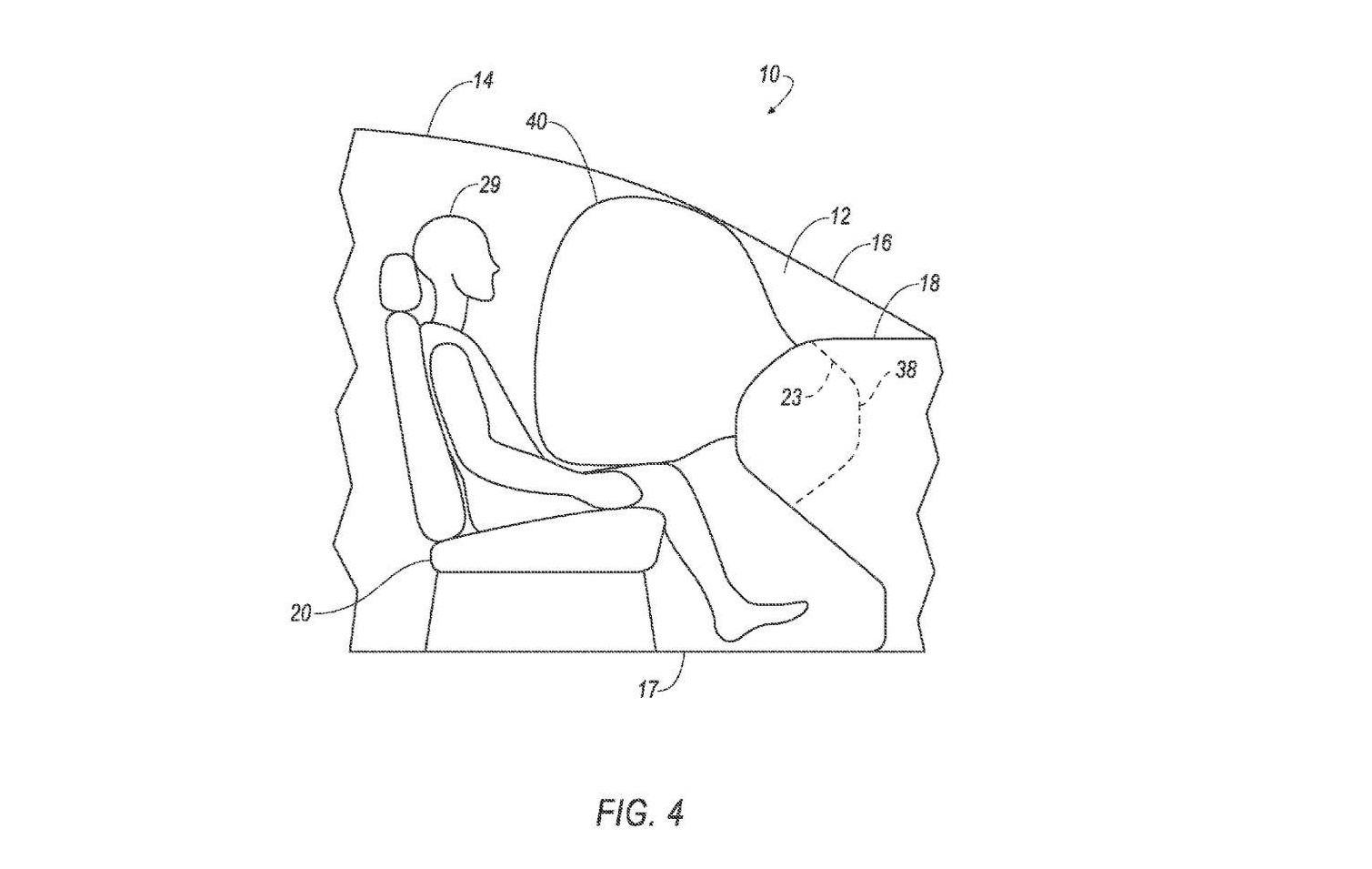
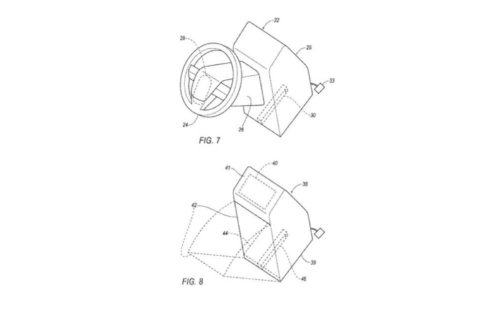
The patent says that the system would allow for a "steering wheel for development purposes, and enables the easy provision of a steering wheel as a customer-requested option." The cabin of the vehicle in the patent has spots where a steering wheel and pedals can be connected if desired and when no steering wheel is in use, there are trim pieces for covering up those connection points.
To keep the person in the driver's spot safe, when the steering wheel is in the car it would have its own airbag. When the wheel isn't installed, an airbag would come out of the dash like the passenger side airbag system. Ford also notes that the steering wheel could have a physical connection to the road using a splined shaft like current cars, or it could use drive by wire.

The pedals would go into the floorboard of the car and connect using loaded snap system, the system might be electronic as well. Ford wrote, "An electric actuator operated by software programmed to simulate brake pedal resistance and restoring force" might be an option. Brake pedal feel often gives drivers an indication of brake issues like worn rotors or brakes that need to be bled, it's not clear how an electronic brake feedback system would address that issue.
We are just now hearing about ths patent application, but it was filed on February 5, 2016. It was published on August 10, 2017 by the patent office. As with all patent apps, there is no guarantee that this tech will ever make it into production.
SOURCE: Motor1




