Apple Hybrid Port Patent Tips Slimmer MacBooks Sharing Sockets
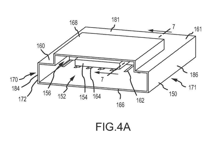
Apple could further slim its MacBook Air and Pro range by combining ports, a new patent application suggests, developing hybrid USB and SD card reader ports that save notebook space without sacrificing connectivity. The newly published patent, simply titled "combined input port", describes a single connector that, thanks to offset pins inside, could work with both a regular USB plug or the contacts on a memory card, depending on which the user required at the time. However, the same arrangement could also be used for combining any other mixture of ports, such as Thunderbolt, Apple points out.
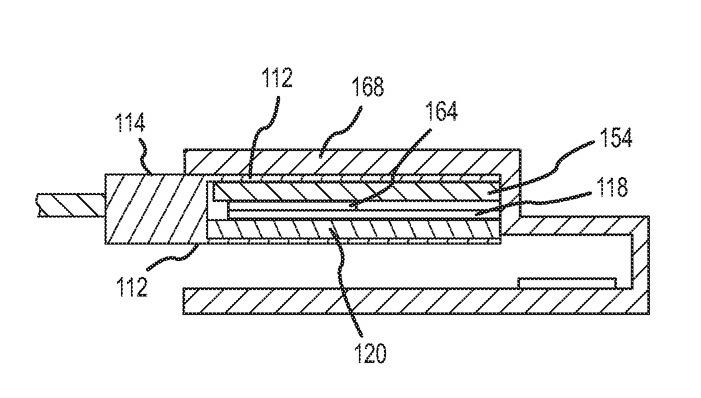
"A first set of contacts is positioned on the substrate at a first depth into the receiving aperture" Apple's application explains, "and a second set of contacts is positioned on a first surface of the outer wall at a second depth into the receiving aperture." In the image below, of the port in cross-section, a USB plug is inserted and makes contact with the first set of contacts.

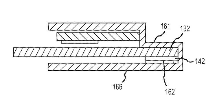
However, in this second diagram from the patent application, an SD card is shown inserted into the hybrid connector instead. That is pushed further into the port, so that it can join with a second set of pins deeper inside.

Should Apple choose to commercialize the system, it would obviously place limits on what devices could be plugged in simultaneously. An SD card could not be read if, for instance, a USB modem or mouse was plugged in. However, with more and more peripherals being connected wirelessly, and Apple pushing Thunderbolt (and the newer Thunderbolt 2, initially only included on the new Mac Pro 2013) as its multi-purpose – and conveniently compact – way of linking up displays, external storage, and other devices, the relevance of distinct ports for memory cards and USB is arguably reducing.
It's not the first time we've seen hybrid connectors, of course. Combined eSATA and USB were popular on notebooks at one point, offering the extra speed of the less-popular eSATA without sacrificing the more common, but slower, USB 2.0.
Apple has traditionally pushed the slimming of its notebooks, switching to unibody designs, ditching optical drives, and trimming the number of ports included in an attempt to reduce weight and thickness. However, the newest 2013 MacBook Air, which we reviewed earlier this month, is externally unchanged from its predecessor, with the biggest difference being the switch to Intel's Haswell architecture inside.
VIA AppleInsider


