RIM BlackBerry Patent Describes Convertible touchscreen/QWERTY Phone
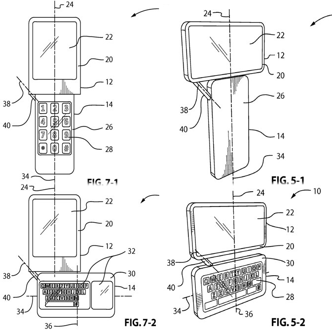
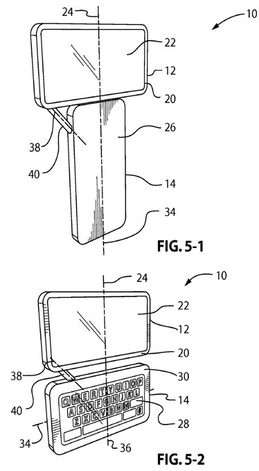
A newly filed patent application by RIM suggests the cellphone manufacturers designers are considering an extending, rotating form-factor that could allow for multiple hardware control surfaces such as a QWERTY keyboard and numeric keypad. The application, titled "Handheld electronic device with rotatable member", shows a phone with a pull-out second section that could be used in portrait or landscape orientation depending on messaging or phone use; however it could also offer a hardware keyboard on one side and a touchscreen display on the other.
"Handheld electronic devices, such as smartphones, cellular telephones and personal digital assistants (PDAs) can provide a variety of different functions in a small package. For some functions, however, such as text entry for messaging and email it may be desirable to provide a specific type of interface, such as an alphabetic keypad, which typically would have a landscape orientation (as opposed to a portrait orientation). For other functions, however, it may be more convenient for the handheld electronic device to have a different orientation. For example, when holding a handheld electronic device during a telephone call it may be more convenient for the device to not exceed a selected width so that it is easily held by the user. Thus, opposing design goals (e.g. narrow width to facilitate holding, and relatively wide alphabetic keypad to facilitate text entry) may exist when developing such a multi-functional device."
RIM describe several methods by which the two sections could be connected and hinged, not just the pull-out-and-twist system, but the theory is consistent: packing as much variation in task-specific input in as possible. It's not the first time we've seen devices attempt to offer numeric and QWERTY input, usually with some form of display hinge; the Samsung Alias 2, for instance, had a display that flipped between portrait and landscape, and used E Ink keys to change the keyboard layout.
What RIM's patent would allow, however, is a physically compact device with very specific input methods, rather than a compromise between the two. Whether they actually get granted the patent – or indeed ever use the ideas in a commercial handset – remains to be seen.
[via GoRumors]







