Apple Dock Connector Update Patent Could Enable USB 3.0, DisplayPort, Maybe Thunderbolt
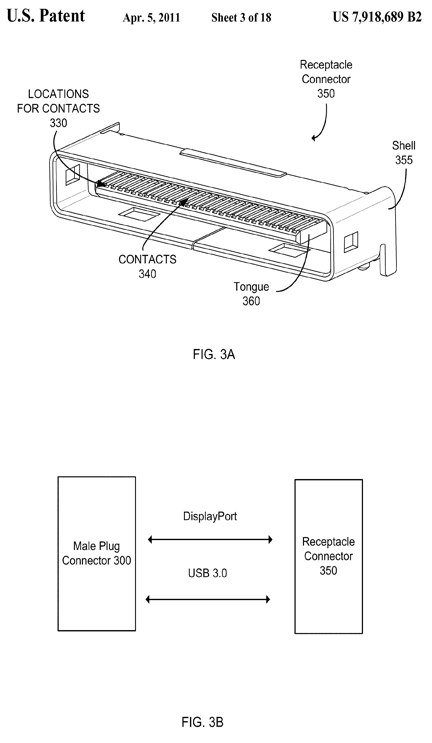
Apple has patented what could well be the next generation of Dock Connector for iOS devices, potentially including functionality like USB 3.0, DisplayPort and even ThunderBolt. The patent, "Reduced size multi-pin male plug connector", describes a connector that is either narrower or thinner, thanks to various combinations of chamfered, rearranged or otherwise tweaked contacts, and which are technically capable of carrying the signals required for the latest breed of high-speed data bus.
That, as Apple suggests, would allow for "one or more standardized connector components to speed connector design and manufacture of new electronic devices such as media players, thus reducing their time to market." The "media player" reference is an obvious nod to the iPod line, though the iPhone and iPad both use the same connector; by shrinking it down, as well as boosting connectivity from mere USB 2.0, Apple could reduce sync times, make its iOS gadgets smaller, and potentially even support things like turning an iPad into an external display when plugged into a MacBook Pro's DisplayPort/Thunderbolt connector.
There'd also be all the usual provision for controlling playback and similar with external controls, so that an in-car audio system could remotely navigate through the iPod's tracks. Some of Apple's plug designs include pivoting flaps to protect the contacts, along with retracting barbs to hold the plug in place.
[via Patently Apple]

